Простой приемник прямого преобразования

Post Reply
Антон
Posts: 17
Joined: Thu Jul 28, 2016 12:23 pm

Простой приемник прямого преобразования

Post by Антон »

Всем привет!
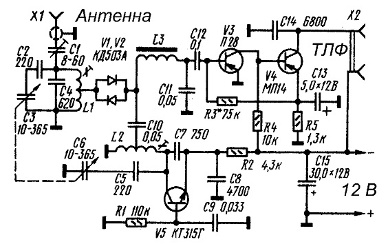
Предлагаю делиться самодельными конструкциями. Вот недавно изготовил приемник прямого преобразования на 3,6 мгц, по известной схеме, которая многократно публиковалась, всего на трех транзисторах. Схема предельно простая.
3tran.jpg
3tran.jpg (78 KiB) Viewed 16746 times
Конструкция определилась имеющейся коробочкой. Внутрь кроме платы поместился также аккумулятор на 12 вольт.

Работу приемника можно посмотреть на видео: https://youtu.be/awtuMCINOh0
Post Reply